叶罗丽精灵梦第十季(第十季正式备案,共26集,薇夫人将登场你期待吗)
叶罗丽精灵梦第十季(第十季正式备案,共26集,薇夫人将登场你期待吗)
《精灵梦叶罗丽》第十季正式备案,共26集,薇夫人将登场你期待吗?
《精灵梦叶罗丽》第十季备案三篇章,共26集
在国家广播电视总局办公厅关于2022年10月全国国产电视动画片制作备案公示的通知,大家一直在期待的《精灵梦叶罗丽》第十季终于迎来了备案。

图片来源于网络
《精灵梦叶罗丽》第十季分为三个篇章,分别是《精灵梦叶罗丽— —灵犀令牌》,《精灵梦叶罗丽— —破门而出》,《精灵梦叶罗丽— —薇芙蓉》,

图片来源于网络
由河北精英动漫文化传播股份有限公司备案,集数为26集,

图片来源于网络
《精灵梦叶罗丽》第十季的备案完成也就意味着距离上线又近了一步了!
《精灵梦叶罗丽》第十季主要讲述了王默和罗丽会发生什么?思思能救回孔雀吗?灵犀阁会做什么?

图片来源于网络

图片来源于网络

图片来源于网络
魔术师是什么人?禁忌之地和十字法相又是什么人?白光莹会解除心的链接吗?

图片来源于网络

图片来源于网络
情公主去了哪?金王子还有什么尘封的记忆?
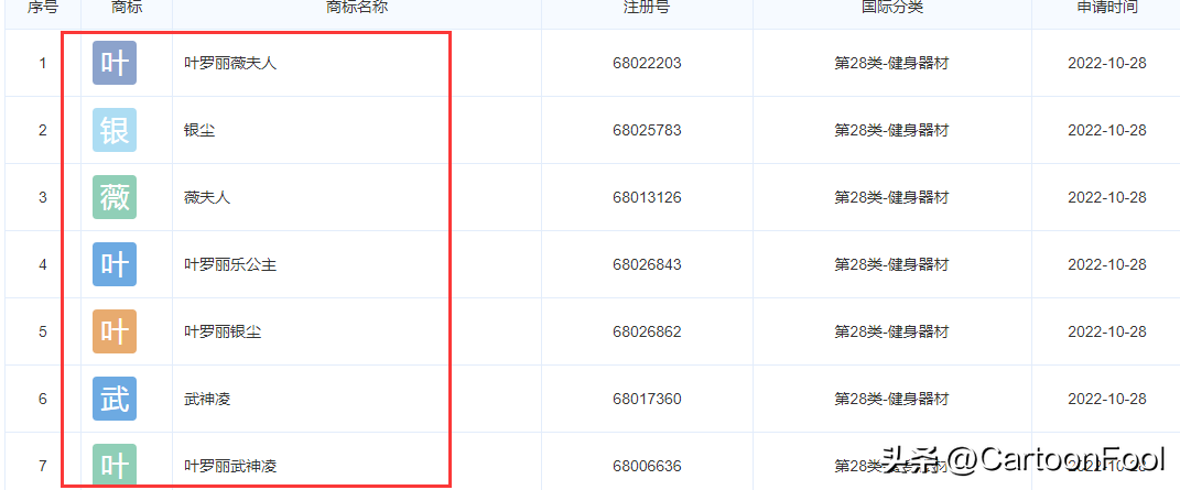
在《精灵梦叶罗丽》系列动画的制作方河北精英动漫文化传播股份有限公司的商标信息版块,

图片来源于网络
我们还可以看到“叶罗丽薇夫人”“叶罗丽银尘”“叶罗丽武神凌”“叶罗丽乐公主”都已经申请注册了,

图片来源于网络

图片来源于网络

图片来源于网络
这是不是意味着大家在《精灵梦叶罗丽》第十季可以见到这些角色呢?
《叶罗丽X2光浮尘》通过上线备案,上映还会远吗?
除了《精灵梦叶罗丽》第十季已经备案了,《叶罗丽X2光浮尘》也通过了上线备案了!

图片来源于网络
《叶罗丽X2光浮尘》的三个篇章《叶罗丽X2光浮尘-闪世纪》《叶罗丽X2光浮尘-背影伤》《叶罗丽X2光浮尘-光影泪》分别在8月,10月,12月通过了上线备案,这也就意味着12月的任何一天《叶罗丽X2光浮尘》都可以定档了。

图片来源于网络

图片来源于网络
此前,《叶罗丽X》官博就宣布叶罗丽X2光浮尘》将会在12月跟大家见面了,所以很可能最近就要定档了,大家要留意哦!
但是另外一部《维将》动画截止目前仅仅只有《维将-无量维》篇章通过了上线备案,剩余的三个篇章都没有备案了,

图片来源于网络
所以这也意味着今年是看不到了,结合官方说的今冬与大家见面,

图片来源于网络
很可能是在寒假与大家见面了,期待《维将》动画的估计还需要耐心等待了!
《精灵梦叶罗丽》第十季正式备案,共26集,《叶罗丽X2光浮尘》通过上线备案,大家有没有期待起来呢?欢迎在下方留言和评论哦

图片来源于网络
(文章为作者原创,请勿抄袭和转载;图片来源于网络,如有侵权,请联系删除)




























