投诉快递最狠的方法(丢件投诉快递最狠的方法)
投诉快递最狠的方法(丢件投诉快递最狠的方法)
在生活中,常常会发现
各种各样的产品或服务质量问题
想要投诉或者咨询

举些例子:
购买的产品质量不合格、遭遇电信诈骗、驾校不退费、食品安全问题、工资被拖欠、环境污染问题、快递服务问题等等
遇到这些问题又该怎么办呢?
怎样直接有效地投诉、维权?
比较方便快捷的方法
就是电话投诉

不少人遇事就喜欢打110
但事实上 110并不是万能的
有些事情也没法帮到你
110 受理管辖的范围
七个点
1.
刑事案件;
2.
治安案(事)件;
3.
危及人身、财产安全或者社会治安秩序的群体性事件;
4.
自然灾害、治安灾害事故、火灾、交通事故;
5.
其他需要公安机关紧急处置的与违法犯罪有关的报警;
6.
危及公共或群众安全迫切需要处置的紧急求助;
7.
公安机关及人民警察正在发生的违法违规行为。
12345 政务服务便民热线
什么是12345
简介:
12345是专门受理热线事项的公共服务平台由各地市人民政府设立的由
电话12345
、市长信箱、手机短信、手机客户端、微博、微信等方式组成。
咨询范围:
1、对行政职能职责、政策规定、办事流程和其他公共服务信息的咨询;
2、对行政管理、社会管理、公共服务方面的投诉以及意见和建议;
3、对行政职权范围内非紧急类管理、服务方面提出的求助;
4、对公民、法人和其他组织危害群众生命财产安全、危害公共财产安全、影响经济社会发展的违法违规行为的举报;
5、对政府部门及其工作人员在办事效率、行政效能方面的表扬。
拨打时间:
提供“7×24”小时全天候人工服务。
投诉、仲裁
申请、救助
……
都可以拨打区号+12345热线

地方12345热线归并
整体并入

双号并行

设分中心

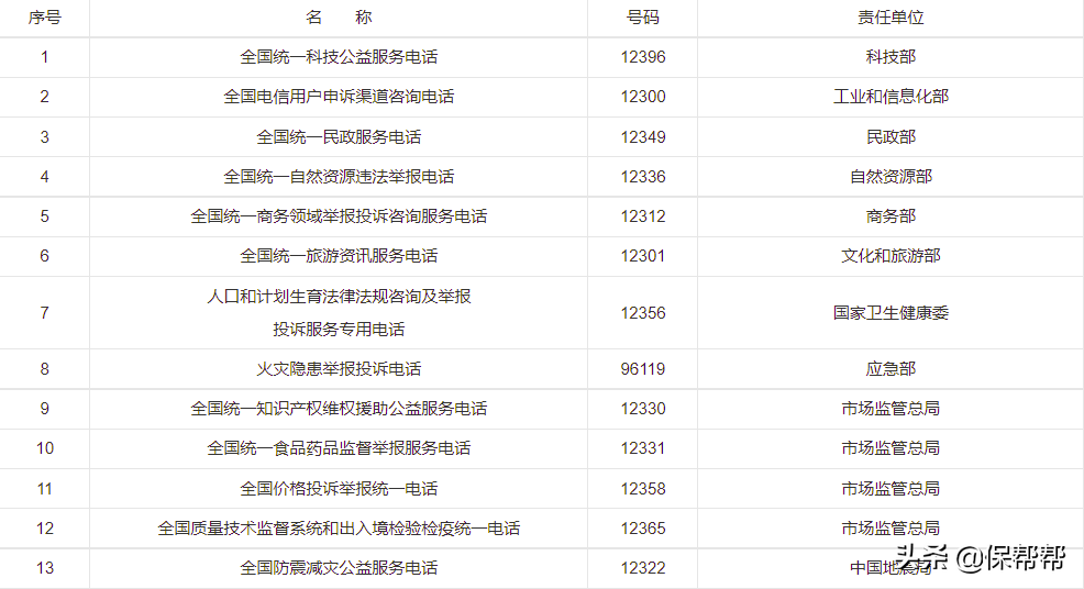
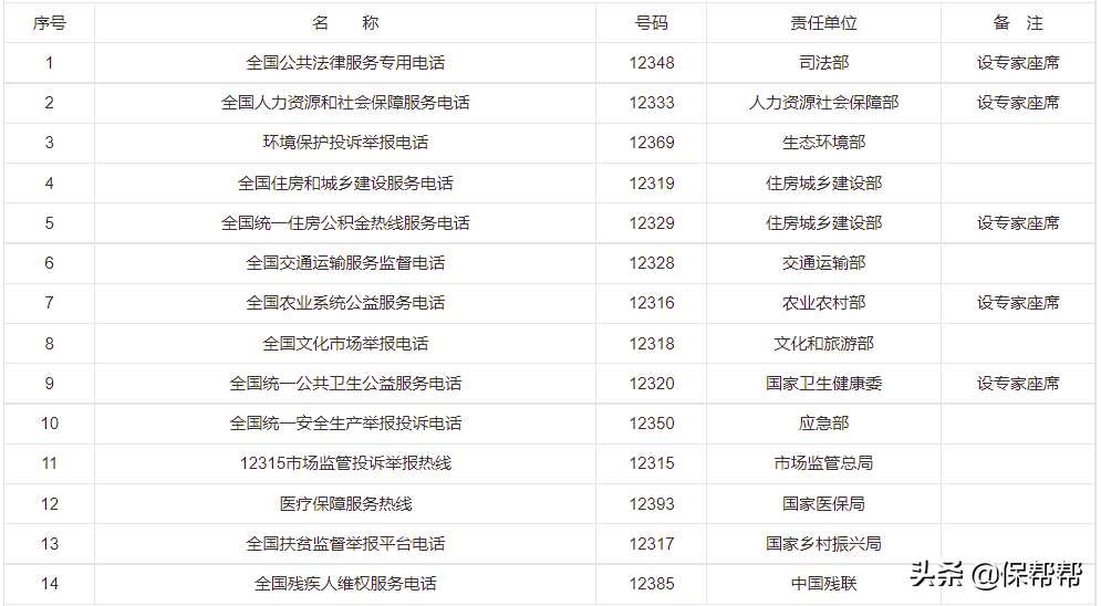
其他常用的投诉电话
快递服务

维权电话





建议点赞收藏~大有用处























